[edit] [comment] [remove] |2005-12-07| e1 # Administration links

 

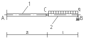
[edit] [comment] [remove] |2005-12-07| e2 # Aufgabe 1

/learn/tm/exercises/schnittgr/a1.PNG Geg: q,l
Ges: Schnittgrößenverläufe

Lösung:

Freischneiden Körper 1:

∑ Fx ≡ Ax + Cx = 0
∑ Fy ≡ Ay + Cy = 0
∑ MA ≡ Cy·2l − MA = 0

/learn/tm/exercises/schnittgr/frei1.PNG

Ax = 0
Cx = 0
MA = − q·l2

Freischneiden Körper 2:

∑ Fx ≡ − Cx = 0
∑ Fy ≡ By − Cy − q·l = 0
∑ MC ≡ By·l − q·l·12·l = 0

/learn/tm/exercises/schnittgr/frei1.2.PNG

By·l = 12·q·l2
By = 12·q·l
Cy = − 12·q·l
Ay = 12·q·l


Schnittgrößen Körper 1: /learn/tm/exercises/schnittgr/schn1.PNG

→ : N1 = 0
↑ : − Q1 + 12·q·l = 0
↵ : M1 + q·l212·l·q·u1 = 0


N1 = 0
Q1 = 12·q·l
M1 = q·(12·l·u1 − l2)


Schnittgrößen Körper 2: /learn/tm/exercises/schnittgr/schn1.2.PNG

→ : N2 = 0
↑ : − Q2 + 12·q·l − q·u2 = 0
↵ : M212·q·l·u2 + q·u2·12·u2 = 0


N2 = 0
Q2 = 12·q·l − q·u2
M2 = 12·q·(l·u2 − u22)


Schnittgrößenverläufe:

/learn/tm/exercises/schnittgr/Ver1.PNG\\

 

[edit] [comment] [remove] |2005-12-09| e3 # Aufgabe 2

/learn/tm/exercises/schnittgr/1.PNG Ein Kragbalken wird durch eine Streckenlast und eine Einzelkraft belastet.

Geg: l,F,q q=F2l
Ges: Schnittgrößenverläufe

Freischneiden:/learn/tm/exercises/schnittgr/2.PNG

∑ Fx ≡ Ax = 0
∑ Fy ≡ Ay + By − F − q·2l = 0
∑ MA ≡ − F·l2 + By·l − q·2l·2l = 0


By·l = F·l2 + F2l·4l2 = F·l2 + 2F·l
By = F2 + 2F = 52·F
Ay = − 52·F + F + F = − 12·F


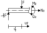
Schnittgrößen 1:/learn/tm/exercises/schnittgr/3.PNG

→ : N1 = 0
↑ : − Q112·F = 0
↵ : M1 + 12·F·u1 = 0


N1 = 0
Q1 = − 12·F
M1 = − 12·F·u1


Schnittgrößen 2:/learn/tm/exercises/schnittgr/4.PNG

→ : N2 = 0
↑ : − Q2 − F − 12·F = 0
↵ : M2 + F·u2 + 12·F · (l2 + u2) = 0


N2 = 0
Q2 = − 32·F
M2 = − F·u212·F·(l2 + u2)


Schnittgrößen 3:/learn/tm/exercises/schnittgr/5.PNG

→ : N3 = 0
↑ : − Q3 − q·u3 + 52·F − F − 12·F = 0
↵ : M3 + q·u3·u3252·F·u3 + F·(l2 + u3) + 12·F·(l + u3) = 0


N3 = 0
Q3 = − 12·Fl·u3 + F
M3 = − 14·Fl·{u3}2 + 52·F·u3 − F(l2 + u3) − 12·F(l + u3)


Schnittgrößenverläufe:
/learn/tm/exercises/schnittgr/Kragbalken mit Einzel und Streckenlast T6.PNG

Der Verlauf der 3. Momentengleichung nähert sich der x-Achse (u-Achse) und wird nicht positiv. N.E.

[edit] [comment] [remove] |2005-12-12| e4 # Übungsaufgabe vom 19.10.2005

/learn/tm/exercises/schnittgr/rah.PNG Ein Rahmen ist mittels Festlager A und Loslager B statisch bestimmt gelagert. Er wird durch zwei Einzelkräfte und eine Streckenlast belastet.

Geg: a , F , Q=Fa
Ges: Schnittgrößen im oberen, horizontalen Rahmenteil

a) Lagerkräfte
/learn/tm/exercises/schnittgr/rahfr.PNG

∑ Fx ≡ Ax − 2F + F·12·√2 = 0
∑ Fy ≡ Ay + By − q·2a − F·12·√2 = 0
∑ MA ≡ By·5a + 2F·a − q·2a·4a − F·√2·a = 0


Ax = F·(2 − 12·√2) = 1,29F
By = 15·(6 + √2)·F = 1,48F
AY = (2 + 12·√2 − 1,48)·F = 1,22F


b) Abschnitt 1:/learn/tm/exercises/schnittgr/abs1.PNG

→ : N1 + 1,29F + 12·√2·F = 0
↑ : − Q112·√2·F + 1,22F = 0
↵ : M1 + 1,29F·2a − 1,22F·(2a + u1) + 12·√2·F·a + 12·√2·F·(a + u1) = 0


N1 = − 2F
Q1 = 0,51F
M1 = (0,51·u1 − 1,55·a)·F


Abschnitt 2:/learn/tm/exercises/schnittgr/schn12.PNG

→ : − N2 − 2F = 0
↑ : Q2 − q·u2 + 1,48F = 0
↵ : − M2 − q·u2·u22 − 2F·a + 1,48F·u2 = 0


N2 = − 2F
Q2 = (u2a − 1,48)·F
M2 = (u222a + 1,48·u2 − 2·a)·F


Schnittgrößenverläufe:

/learn/tm/exercises/schnittgr/ver3.PNG

 

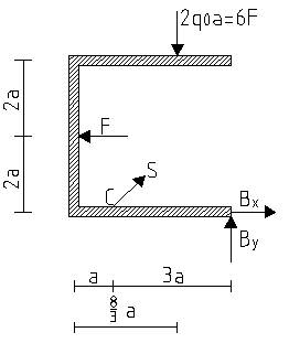
[edit] [comment] [remove] |2005-12-13| e5 # Klausur vom 04.02.2004 Aufgabe 2

/learn/tm/exercises/schnittgr/RahmenSeil.png Ein gelenkig gelagerter Rahmen ist
an einem Seil befestigt. Er wird
gemäß Skizze durch eine Strecken- last sowie durch eine Einzelkraft
belastet.

Geg: F, a, qo = 3Fa ; b = a10 ; c = a6

  1. Ermitteln Sie die Schnitt- größen des Rahmens an der Stelle 'D'
  2. Welche max. Normalspannung (Zug/Druck + Biegung) wirken an der Stelle 'D' mit dem skizzierten Rechteck- querschnitt?

Lösung:

a)

Freischneiden:/learn/tm/exercises/schnittgr/K1.PNG

∑ Fx ≡ Bx − F +12·√2·S = 0
∑ Fy ≡ By − 6F + 12·√2·S = 0
∑ Mc ≡ By·3a + F·2a − 6F·53·a = 0


By = − 2Fa + 10Fa3a = 83·F
S = 6F − 83·F12·√2 = 4,714F
Bx = F − 12·√2·4,714F = − 2,333F


Schnittgrößen:/learn/tm/exercises/schnittgr/04.02.04 T2.PNG

→ : − N − 2,333F = 0
↑ : Q + 83·F = 0
↵ : M − 83·F·2a = 0


N = − 2,333F
Q = − 83·F
M = 163·F·a


b)

σ = NA + MWx
Wx = 16·b·c2 = 16 · a10 · a236 =a32160
A = b·c = a260
σ = − 2,333F·60a2 + 16·F·a·21603·a3 = 11380Fa2


  sollten die Spannungen für die Normalspannung nicht addiert werden, also die Beträge davon. So würde die eine Spannung die andere ja reduzieren. 11660F wäre somit richtig. J.C.

[edit] [comment] [remove] |2005-12-13| e6 # Klausur vom 07.07.2004 Aufgabe 2

Ein zweifach statisch bestimmt gelagerter Rahmen (Loslager A, Festlager B) wird durch eine dreieckförmige Streckenlast und eine Einzelkraft belastet.
/learn/tm/exercises/schnittgr/Rahmen.png
Geg: F = 200 N; qo = 400 Nm ; a = 20 cm ; b = 1 cm ; c = 2 cm ; E = 210000 Nmm2

  1. Die Schnittgrößen des Rahmens an der Stelle 'C'.
  2. max. Normalspannungen (Zug/Druck + Biegung) an der Stelle 'C' mit dem skizzierten Rechteckquerschnitt

a)

Freischneiden:/learn/tm/exercises/schnittgr/K2.PNG

∑ Fx ≡ Bx − F = 0
∑ Fy ≡ A + By − 160N = 0
∑ MB ≡ − A·4a + F·3a + 160N·83·a = 0


Bx = F = 200N
A = F·3a + 160N·83·a4a = 256,67N
By = − 96,67N


Schnittgrößen:/learn/tm/exercises/schnittgr/07.07.04 T2.PNG

→ : − N + 200N = 0
↑ : Q − 96,67N = 0
↵ : M + 96,67N·2a = 0


N = 200N
Q = 96,67N
M = − 38,67Nm


b)

σ = NA + MWx
A = b·c = 200 mm2
Wx = 16·b·c2 = 40006 mm3
σ = 200N200 mm2 + 38670Nmm·64000 mm3 = 59 Nmm2


 

[edit] [comment] [remove] |2005-12-13| e7 # Klausur vom 02.02.2005 Aufgabe 2

Ein Rahmen ist mittels eines Festlagers und eines Stabes statisch bestimmt gelagert. Er wird durch eine vertikale Streckenlast und eine horizontale Kraft F belastet.
/learn/tm/exercises/schnittgr/Rahmen3.png
Geg: F, a, q = 6Fa

Ermitteln Sie

  1. Lagerkraft A und Stabkraft S
  2. Schnittgrößen N, Q, M im Rahmenpunkt D

Lösung:

a)

Freischneiden:/learn/tm/exercises/schnittgr/02.02.05 T1.PNG

∑ Fx ≡ − Ax + F − 12·√2·S = 0
∑ Fy ≡ Ay − q·32·a − 12·√2·S = 0
∑ MA12·√2·S·4a − q·32·a·2a − F·4a = 0


S = q·3a2 + F·4a12·√2·4a = 18F·a + 4F·a12·√2·4a = 7,78F
Ay = 12·√2·S + q·32·a = 14,5F
Ax = F − 12·√2·S = − 4,5F


b)/learn/tm/exercises/schnittgr/K3.1.PNG

Schnittgrößen:

→ : N + 14,5F = 0
↑ : − Q − 4,5F = 0
↵ : M + 4,5F·2a = 0


N = − 14,5F
Q = − 4,5F
M = − 9F·a


 

[edit] [comment] [remove] |2005-12-13| e8 # Klausur vom 14.03.2005 Aufgabe 2

/learn/tm/exercises/schnittgr/Rahmen4.png Ein Rahmen ist mittels eines Festlagers und eines Stabes statisch bestimmt gelagert. Er wird durch eine vertikale Streckenlast und eine horizontale Kraft F belastet.

Geg: F, a, q = 2Fa

Ermitteln Sie

  1. Lagerkraft A und Stabkraft S
  2. Schnittgrößen N, Q, M im Rahmenpunkt D.

a)

∑ Fx ≡ − Ax + F = 0
∑ Fy ≡ Ay − S − 32·q·a = 0
∑ MC ≡ − Ay·3a + 32·q·a·a − Ax·2a = 0

/learn/tm/exercises/schnittgr/14.3.05 Aufg.2 T1.PNG

Ax = F
Ay = 3F·a − 2F·a3a = 13·F
S = Ay − 3F = − 83·F


b) /learn/tm/exercises/schnittgr/14.3.05 Aufg.2 T2.PNG

→ : N + 13·F = 0
↑ : − Q + F = 0
↵ : M − F·u1


N = − 13·F
Q = F
M = F·u1


Kann das sein das Ax=F ist und nicht -F.Bitte überprüft das nochmal.Danke


Nein: In Bild 2 ist Ax nach links also negativ angetragen somit Ax=F. CSE :-)

Summe der Momente um den Pkt C ist korrigiert. -> … - A_x *2a = 0

CB

[edit] [comment] [remove] |2005-12-13| e9 # Klausur vom 06.07.2005 Aufgabe 2

/learn/tm/exercises/schnittgr/balken5.png Ein Balken ist statisch bestimmt mittels Festlager A und Stab 1 gelagert und trägt die skizzierte Streckenlast.

  1. Ermitteln Sie die Schnittgrößen des Balkens an der Stelle D
  2. Welchen Radius muss der Stab 1 mit Kreisquerschnitt erhalten, wenn eine Knicksicherheit von 2 eingehalten werden muss

Geg: q = 2 kNm, a = 1m, E = 105 Nmm2

Lösung:

a)

Freischneiden:/learn/tm/exercises/schnittgr/K5.PNG

(1)∑ Fx ≡ Ax + 12·√2·S = 0
(2)∑ Fy ≡ Ay − qa − 3qa − 12·√2·S = 0
(3)∑ MA ≡ − qa·23·a − 3qa·32·a − 12·√2·S·3a = 0


S = 23·qa292·qa212·√2·3a = − 4,87kN
Ax = − 12·√2·(− 4,87kN) = 3,44kN
Ay = 4qa + 12·√2·(− 4,87kN) = 4,56kN


Schnittgrößen:/learn/tm/exercises/schnittgr/06.07.05 A2 Teil 2.PNG

→ : − N − 12·√2·4,87kN = 0
↑ : Q − qa + 12·√2·4,87kN = 0
↵ : M + qa·a212·√2·4,87kN·a = 0


N = − 3,44kN
Q = − 1,44kN
M = 2,44kNm


Knicksicherheit nach Euler:

2·S = π2·E·lminl2k
lmin = 14·π·r4
lk = √2·a
r = (16·S·a2π3·E)1/4 =(16·4900·10002π3·105 N·mm2·mm2N)1/4 = 12,59mm

Wenn ich bei der Knicksicherheit die unterste Formel ausrechne komme ich nicht auf 12,59mm. Gehe ich eine Seite zurück und schaue mir die Aufgabe in der kompletten Klausur vom 06.07.05 an kommt als Ergebnis 70mm bei gleicher Formel…rechne ich es selber komme ich auf einen Raius von 7,08mm!!!gerechnet mit Fk= 9,74KN ist ein Imin erforderlich von 1973,74 macht auf den radius gerechnet 7,08mm. SB

[edit] [comment] [remove] |2006-01-02| e10 # Übungsaufgabe vom 14.12.2005

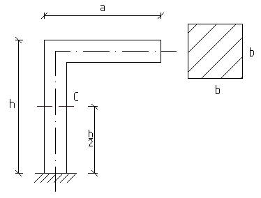
/learn/tm/exercises/schnittgr/Eckprofil oder so Teil 1.PNGEin Winkelrahmen mit der Querschnittsfläche b2 wird mit einer Kraft F=12kN belastet.

Dabei werden a) die Normalspannungen im Schnitt C und b) die Verschiebung im Punkt B gesucht.

Geg: a=1m; F=12kN; h=1,5m; b=8cm; E=2,1·105 Nmm2

1) Schnittgrößen:

→: Nc +F=0
↑: Qc= 0
↵: Mc − F·a=0


Nc= − F = −12kN
Qc= 0
Mc= F·a = 12000N1m

/learn/tm/exercises/schnittgr/Eckprofil oder so Teil 2.PNG 2) Festigkeitsrechnung:

σD = FA = 12000N6400mm2 = 1,875 Nmm2 (W)= 16b3
σB = MW = F·a16 b3
σN = Fb2+6·F·ab3= Fb2


σN = 12·103802 Nmm2
σN = 142,5 Nmm2

3) Verschiebung B/learn/tm/exercises/schnittgr/Eckprofil oder so Teil 3.PNG

Ixx = 112 b · h3
Iyy = 112 b3 · h
Wx = 13 F · l3E · I
Wy = 12 M · l2E · I

/learn/tm/exercises/schnittgr/Eckprofil oder so Teil 4.PNG

Wx = F · a · h22·E · Ixx=18,8 mm
Wy =F·a2E·I + (a3 + h) =...= 18,1 mm

mit I = 112 b4

WB = √ Wx 2 + Wy 2
WB =...= 26,2 mm

/learn/tm/exercises/schnittgr/Eckprofil oder so Teil 5 Wahrscheinlich.PNG

  Wo greift die Kraft F denn an?   Ist in den folgenden Bildchen zu erkennen :-)

[edit] [comment] [remove] |2006-01-16| e12 # new

 ]/learn/tm/exercises/schnittgr/Eckprofil oder so Teil 5 Wahrscheinlich.PNG

 

[edit] [comment] [remove] |2006-01-17| e13 # new

 

 

[edit] [comment] [remove] |2006-01-17| e14 # new

 
 

[edit] [comment] [remove] |2006-01-28| e15 # new

 
 

[edit] [comment] [remove] |2006-03-10| e16 # new