[edit] [comment] [remove] |2005-12-07| e1 # Administration links

 

[edit] [comment] [remove] |2005-12-20| e2 # Klausur vom 02.02.2005/06.07.2005 Aufgabe 1

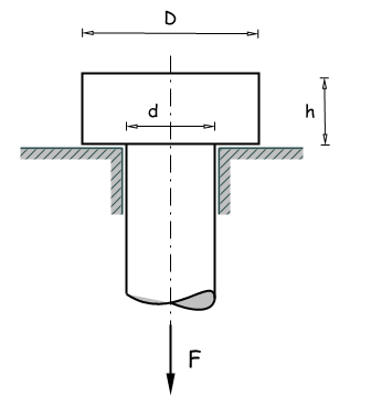
/learn/tm/exercises/schub/Zugbolzen.png Ein Zugbolzen mit dem Kopfdurchmesser ØD, der Kopfhöhe h und dem Schaftdurchmesser Ød = 10 mm wird durch die Kraft F = 10 kN belastet. Welche Werte sind für D und h zu wählen, wenn die zul. Scherspannung 60 N/mm² und die zul. Flächenpressung 20 N/mm² nicht überschritten werden darf?

Lösung:

Kopfdurchmesser D:

σzul = 20 Nmm2
A = Fσzul = 10000N20 Nmm2 = 500 mm2
A = π4·(D2 − d2)
D = √ 500mm2·4π+100mm2
D = 27,14 mm

Kopfhöhe h:

Τzul = 60 Nmm2
A = π · d · h
Τzul = FA = Fπ · d · h
h = Fπ · d · τzul = 10000Nπ · 10mm · 60 Nmm2
h = 5,31 mm
 

[edit] [comment] [remove] |2006-01-02| e4 # Übungsaufgabe 1 vom 7.12.2005

  Eine Nietverbindung wird auf Zug belastet. Gesucht ist der minimal notwendige Durchmesser d, damit die Verbindung der Belastung stand hält:

/learn/tm/exercises/schub/Nietenverbindung.PNG

Geg:

F = 30 kN
Τzul = 140 Nmm2


Formel zur Berechnung von Τ :

ΤzulFA = Τ


Τ = Fd22·π
d ≥√F · 2π · Τzul
d ≥ 11.68 mm

  Ist für A nicht PI*d²/4 ?


Der Meinung bin ich allerdings auch! Ich habe 16,52mm für den Durchmesser heraus.
Nein, stimmt so. Die Fläche ist π·d24 , allerdings muss sie mit 2 multipliziert werden.

[edit] [comment] [remove] |2006-01-02| e5 # Übungsaufgabe 2 vom 7.12.2005

Stahlrohr als Torsionsstab

Ein Stahlrohr wird auf Torsion belastet. Nun wird a) der Innendurchmesser bei gleichbleibender Torsionssteifigkeit und b) der Verdrehwinkel pro Meter Rohrlänge gesucht./learn/tm/exercises/schub/Uebung 271005 Teil 1.PNG

Geg:

Außen D = 280 mm
Mt = 4,9 · 104 Nm
Τzul = 32 Nmm2
G = 8·104 Nmm2

Zu a)

ΤT = MTIP · R


Ip = MTΤT·R = 214,375·106 mm4
Ip = 12 · π · (R4 − r4)

Ip in die Gleichung für ΤT einesetzt und nach r umgestellt ergibt für den Durchmesser d = 250 mm!

r = (R4Ip·2π)1/4 = 125,45 mm
d = 250,9 mm

Zu b)

φ = MTG · Ip·l = 4,9 · 104 · 103 · 1038 · 104 · 2,2 ·108 Nmm · mm2Nmm4

mit

Ip = 12 π · (1404 − 1254) mm4 = 2,2 · 108


Somit ergibt sich für φ = 2,78 · 10−3 im Radialmaß und im Winkelmaß 0,16o

  Hallo, hab mit a) probleme, komme an der stelle nicht weiter, wo man nach r umstellen soll… könnte mal einer die ausfürhlichen schritte hier einstellen

Mfg lernwilliger student

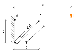
[edit] [comment] [remove] |2006-01-02| e6 # Übungsaufgabe 1 vom 21.12.2005 Aufgabe 2

Berechnung der erforderlichen Stärke einer Schubstange, die in eine Hubvorrichtung eingegliedert ist.

F.S.: /learn/tm/exercises/schub/hub1.PNG

σb = M0W
ΤT = MTIp · r

Geg:

F = 12 kN
a = 700 mm
b = 500 mm
c= 300 mm
l= 400 mm


Ges: Durchmesser d der Schubstange bei 4-facher Knicksicherheit

Gleichgewichtsbedingungen /learn/tm/exercises/schub/hubfrei.PNG

∑ Ma ≡ − F· a + sin α S · b ⇒ S = F · ab · sinα = 32,67 kN


Fk = 4·S ; lk = e , I = 14·π·r4
Fk = π2·E · Ilk 2
⇒ 4·S = 2,1·105 Nmm2·π2·r4·π4·e2
⇒ r = (4·S·4·(400mm)2·mm22,1·105 N·π3)1/4 = 10,645 mm
d = 21,29 mm

Wo ist die Stabkraft in der Summe der Kräfte für Fy? (MP)


Die Summe der Kräfte in x und y Richtung sind hier uninteressant. Keine Ahnung warum er die mit reingeschrieben hat und dann auch noch falsch… (Oliver)
Was bitte ist e² und welchen Wert nehmt ihr für E an?
Mein Kollege hat aus irgendwelchen Gründen in der Zeichnung die Länge der Stange mit l bezeichnet und in der Rechnung e benutzt. Der E-Modul für Stahl ist 2,1·105 Nmm2
hab das mit diesem E-Modul ausgerechnet komm aber nur auf einen wert von 3,78 ??

[edit] [comment] [remove] |2006-01-22| e8 # Übungsaufgabe vom 07.12.2005

/learn/tm/exercises/schub/Verschraubung (Bolzen).PNG

Dieses Stangengelenk wird auf Zug belastet:

Geg:

F = 1,9 kN
τ = 60 Nmm2


Ges:

ø d
τ = F2 · π4 · d2
d ≥ √ (2 · Fπ · τzul) = √(2 · 1,9 · 103 Nπ · 60 Nmm2)
d ≥ 4,36 mm

 Warum muß man denn mit 1/2 F rechnen?

Man muss nicht mit 1/2 F rechnen, sondern mit 2 x der Fläche A!(oben+unten)

[edit] [comment] [remove] |2006-01-23| e9 # Übungsaufgabe 1 vom 15.12.2005

Ein eingesetzter Bolzen wird an seinem unteren Ende mit einer Kraft F auf 45° belastet.
/learn/tm/exercises/schub/Bolzen mit D und d.PNG Geg:

F = 30 kN
a = 80 mm
c = 10 mm
d = 60 mm
Pzul = 120 Nmm2
τzul = 60 Nmm2


Ges:

a) Zugspannung (Schaft)
b) Biegespannung (Schnitt A-A)
c) Schubspannung (Schnitt A-A)
d) Kopfdurchmesser D
e) Kopfhöhe h

a)

σ = FA
F = 30 kN · 12 ·√2
A = π4 · (60 mm)2 = 2827,43 mm2
⇒ σ = 30000 N · 12 · √2π4 · (60 mm)2 = 7,5 Nmm2


b)

σb = MW
W = 14 · π · r3
M = 12 · √2 · 30 kN · a
σb = 12 · √2 · 30000 N · 80 mm · 4π · (30 mm)3 = 80 Nmm2


c)

Τ = Fκ · A = 12 · √2 · 30000 N · 4 · 43 · π · (60 mm)3 = 10 Nmm2


d)

A = π4 (D2 − d2)
Pzul = FA<= Pzul
D =√(A· 4π + d2)
A = FPzul = 12 · √2 · 30000 N120 Nmm2 = 176,78 mm2
D = 61,85 mm


e)

Τzul = Fπ · D · h ⇒ h = Fπ · D · Τzul = 12 · √2 · 30000Nπ · 61,85 mm · 60 Nmm2 = 1,82 mm

  also irgendwas stimmt an der c) nicht. Wenn man die formel so wie sie da steht in den rechner eingibt kommmt auch nicht das ergebnis raus, auserdem muss man doch für das kappa 3/4 als faktor nehmen, wo ist die 3 davon geblieben? wo kommt auf einmal die 80 her?


korrigiert


zu c) - Warum (60mm)^3?

zu e) - Warum nehmen wir nicht d, anstatt D? (S.F.)


[edit] [comment] [remove] |2006-01-24| e10 # new

 
 

[edit] [comment] [remove] |2006-01-24| e11 # new