[edit] [comment] [remove] |2005-12-10| e1 # Biegung des geraden Balkens

Von der bislang rein axialen Belastung des Stabes wollen wir nun zu einer Belastung senkrecht zu dessen Achse bzw. zur Beanspruchung durch ein Biegemoment übergehen. Der Stab wird durch diese Lastannahmen zum Balken.

In Anlehnung an die praxisübliche Vorgehensweise vereinbaren wir zunächst folgende

idealisierende Annahmen:

  • Die Dehnung und Verdrehung aller Körperelemente sind sehr klein gegenüber den Balkenabmessungen, daher werden alle Kräfte am unverformten Balken angesetzt (Linearisierung).
  • Der Werkstoff sei homogen und isotrop, deshalb gilt das verallgemeinerte Hooke´sche Gesetz.
  • Die Querschnittsabmessungen seien deutlich kleiner als die Balkenlänge15Diese Formulierung entspricht der bereits bekannten Definition eines Balkens..
  • Die Balkenachse ist Verbindungslinie aller Querschnittsflächenpunkte.
  • Die Balkenachse sei im unbelasteten Zustand gerade, d.h. nicht gekrümmt.
  • Äußere Kräfte wirken entlang einer Hauptträgheitsachse und äußere Momente drehen ebenfalls um eine Hauptträgheitsachse der Balkenquerschnittsfläche (gerade Biegung)16Der allgemeine Fall der schiefen Biegung besitzt diese Einschränkung nicht..

Seite42_1.PNG

 

[edit] [comment] [remove] |2005-12-10| e2 # Biegung bei konstantem Biegemoment, reine Biegung

Voraussetzung

Unter der Belastung eines Balken durch reine Biegung verstehen wir die zugehörigen Schnittgrößenverläufe:

N(z)=0 (keine Normalkraft)

Q(z)=0 (keine Querkraft)

M(z)=const (konstantes Biegemoment)

Seite43_1.PNG
Beispiele reiner Biegebelastung

 

[edit] [comment] [remove] |2005-12-10| e3 # Biegespannung

Durch das Herauschneiden eines Balkenstücks

Seite43_2.PN

wirkt auf die so erzeugte Querschnittsfläche als Schnittgröße lediglich ein Biegemoment um die x-Achse. Diese Moment ist einem Kräftepaar äquivalent und bewirkt im oberen Bereich des Querschnitts eine Druckspannung sowie im unteren Bereich eine Zugspannung.

Seite43_3.PNG

Zu einer genaueren Aussage gelangen wir, indem wir die durch die Biegung erzeugte Normalspannung eines differentiell kleinen Flächenstücks dA betrachten. Die resultierende Kraft in diesem Flächenstück ist σb(y)·dA. Damit formulieren wir die

1. Verträglichkeitsbedingung

Die Biegespannung hat keine resultierende Kraftwirkung, d.h.

 A·σb(y)·dA = 0

Weiterhin gibt es kein resultierendes Moment um die y-Achse und damit gilt die

2. Verträglichkeitsbedingung

Die Biegespannung erzeugt kein resultierendes Moment um die y-Achse, d.h.

 A·xσb(y)·dA = 0

Schließlich muß die Biegespannung ein Moment um die x-Achse der Größe Mb erzeugen, damit haben wir die

3. Verträglichkeitsbedingung

Die Biegespannung resultiert in einem Moment Mb um die x-Achse, d.h.

 A·yσb(y)·dA = Mb

Diese bis hierher aufgestellten Bedingungen reichen immer noch nicht aus, um den Biegespannungsverlauf über der Querschnittsfläche zu bestimmen. Daher betrachten wir in einem weiteren Schritt ein verformtes Balkenstück.

Seite44_4.PNG

und berücksichtigen bei der angenommenen Verformung die

Bernoulli-Hypothese der Biegetheorie

Die Querschnitte eines Balkens bleiben auch während der Biegeverformung eben und senkrecht zur (gekrümmten) Balkenachse.

In unserem speziellen Fall einer Belastung durch ein konstantes Biegemoment über die gesamte Balkenachse hat diese an jeder Stelle die gleiche Krümmung und geht daher in einen Kreisbogen über.

Am verformten Balkenstück kann dann jeder y-Koordinate eine Faser der Form konzentrischer Kreisbögen zugeordnet werden. Diese liegen im Abstand ρ(y) zum Krümmungsmittelpunkt und sind im "oberen Bereich" gegenüber der Ausgangslänge l0 verkürzt und im "unteren Bereich" gelängt. Im Übergang zwischen diesen beiden Bereichen muß es eine sog. neutrale Faser der Länge l0=α·ρ0 geben.

Aufgrund des Ebenbleibens der Querschnitte liegt dann eine lineare Dehnungsverteilung vor, d.h.

ε(y) = Δll0 = α·ρ − α·ρ0α·ρ0 = ρ − ρ0ρ0

lineare Dehnung

ε(y)= −yρ0

Zwischen der Spannung und Dehnung besteht ebenfalls ein linearer Zusammenhang.

σ=E·ε

(Hooke´sches Gesetz) womit wir die Spannungsverteilung

σb(y)=−Eρ0·y

über der Querschnittsfläche als Geradengleichung erhalten. Nun ist noch die Lage (Nullpunkt) und Steigung der Geraden (ρ0) unbekannt.

Wir setzen die Geradengleichung der Spannungsverteilung in die 1. Verträglichkeitsbedingung ein und erhalten

Eρ0·∫ydA = 0

und damit

Sx =  A·ydA = 0

als Forderung, daß das Flächenmoment 1. Ordnung bezüglich der x-Achse verschwindet. Diese erfüllt nur der Flächenschwerpunkt.

Als Ergebnis stellen wir also fest, daß der x,y-Koordinatenursprung in dem Querschnittsflächenschwerpunkt liegt. Hinsichtlich der Steigung der Geradengleichung benutzen wir die 3. Verträglichkeitsbedingung und erhalten

Mb = −Eρ0 A y2 dA

und mit

Ixx =  A y2 dA

(Flächenmoment 2. Ordnung bezügl. der x- Achse)
läßt sich diese Beziehung nach dem Krümmungsradius ρ0 auflösen

ρ0 = −E·IxxMb

Damit erhalten wir nunmehr durch Einsetzen von ρ0 in die lineare Spannungsverteilung, die

Gleichung der Biegespannung

Seite46_4.PNG

σb(y)=MbIxx·y

Mit Mb = konstantes Moment
Ixx = entlang der Balkenachse gleichbleibendes Flächenmoment

Interessenhalber setzen wir die Gleichung der Spannungsverteilung noch in die 2. Verträglichkeitsbedingung ein und erhalten mit

MbIxxA xydA = 0

die Bedingung, daß das Deviationsmoment

Ixy = ∫A xydA = 0

verschwindet. Dies ist gleichbedeutend damit, daß die x,y-Achsen gleichzeitig Hauptträgheitsachsen sind.
Die Spannungsgleichung ist demnach nur unter dieser Voraussetzung gültig. Andernfalls ist nach den Formalismen der schiefen Biegung zu rechnen.

 

[edit] [comment] [remove] |2005-12-10| e4 # Biegung aufgrund einer Querkraft

Seite47_1.PNG
Durch die nun wirkenden Querkräfte werden in einer Schnittfläche des Balkens zusätzlich zu den Biegespannungen Schubspannungen erzeugt (s. Abschnitt 7). Diese Spannung wollen wir hier nicht berücksichtigen. Da das Biegemoment und gegebenfalls die Querschnittsabmessungen über z variieren, müssen wir die

Gleichung der Biegespannung für veränderliches Biegemoment und Flächenträgheitsmoment

σb(y,z)=Mb(z)Ixx(z)·y

Mit Mb(z) = variables Biegemoment

Ixx(z) = variables Flächenmoment

verwenden.

 

[edit] [comment] [remove] |2005-12-10| e5 # Schiefe Biegung

Wenn die bislang erfüllte Forderung, daß die Biegeachse17Achse, um die das Biegemoment dreht. eine Hauptträgheitsachse des Querschnitts ist, nicht mehr eingehalten werden kann, so sprechen wir von einer schiefen Biegung.

Seite48_1.PNG

Da jede Fläche zwei senkrecht aufeinanderstehende Hauptträgheitsachsen besitzt, kann das Biegemoment in zwei Komponenten in Richtung eben dieser Achsen aufgeteilt werden. Die resultierende Biegespannung ergibt sich dann aus der Überlagerung dieser geraden Biegungsfälle.

Gleichung der Biegespannung für schiefe Biegung18auch zweiachsige Biegung

σb(x,y,z)=Mbx(z)Ixx(z)·y + Mby(z)Iyy(z)·x
 

[edit] [comment] [remove] |2005-12-09| e6 # Spannungsnachweis des Balkens

Ziel der Spannungsberechnung ist der Nachweis der Festigkeit eines Balkens in der Form, daß an keiner Stelle des Balkens und in keinem Flächenstück des Balkenquerschnitts die zulässige Spannung überschritten wird. Wir nennen dies den Spannungsnachweis. Um die Vorgehensweise näher zu beleuchten, betrachten wir einen eingespannten Balken mit Dreiecksquerschnitt.

Nun wollen wir die Forderung nach einem konstanten Biegemoment ebenso wie die Bedingung eines konstanten Querschnitts entlang der Balkenachse fallenlassen und die Biegespannung aufgrund äußerer Kräfte bzw. Streckenlasten untersuchen.

Seite49_1.PNG

Das größte Biegemoment tritt in diesem Fall an der Einspannstelle (z=0) auf. Eine Skizze des Spannungsverlaufs über den Querschnitt an dieser Stelle

Seite49_2.gif

verdeutlicht, daß die betragsmäßig größte Spannung an der oberen Faser auftritt. Dies ist gleichzeitig der Randpunkt des Querschnitts mit dem größten Abstand ymax vom Schwerpunkt. Die größte Biegespannung erhalten wir demnach aus der Beziehung

bmax (z)| = |Mb (z)|Ixx (z)·|ymax|

Da sowohl Ixx als auch ymax reine Flächenkenngrößen sind, werden diese häufig zusammengefaßt und bilden gemeinsam das sogenannte

Widerstandsmoment

Wx = Ixx|ymax| ; Wy = Iyy|xmax|
  • bezieht sich immer auf Hauptachsen
  • hat Dimension "Länge hoch 3"
  • ist ein Maß für die Festigkeit eines Querschnitts gegenüber einer Biegebelastung
  • darf nicht mit einem anderen Widerstandsmoment addiert werden
  • läßt die Information hinsichtlich Zug-/Druckbelastung aufgrund des Betrages verschwinden

Für den Spannungsnachweis eines Balkens muß also die Bedingung

bmax (z|max = Mb(z)W(z) ≥ σzul

für alle Querschnitte erfüllt sein. Für die Querschnittswahl (Dimensionierung) eines Biegebalkens läßt sich demgegenüber die Beziehung

Werf = Mσzul


verwenden, um das erforderliche Widerstandsmoment zu bestimmen.

Beispiel

Seite50_1.PNG
Ein Balken mit linear veränderlicher Höhe h und konstanter Breite ist am linken Rand fest eingespannt und wird am rechten Rand durch eine senkrechte Einzelkraft F belastet. Frage:

  • An welcher Stelle tritt die minimale Biegespannung auf? Geg.:
h1h2=3
  • Für welchen Höhenverlauf h(z) der Balkenfaser ist die maximale Biegespannung in jedem Querschnitt gleich? Lösung:
  • Bei einer linear veränderlichen Höhe gilt die Funktion
h(z)=h1+h2 − h1l·z


Als Flächenträgheitsmoment kennen wir

Ixx(z)=112 bh3(z)


und bestimmen das Widerstandsmoment zu

Wx(z)=2·Ixxh(z)=16 bh2(z)


Der ebenfalls lineare Biegemomentverlauf gehorcht der Beziehung

Mb(z)= − F·(l − z)


Damit erhalten wir für die Biegespannung

bmax(z)|=6F(l − z)b(h1+h2 − h1l z)2


Das Maximum dieser Funktion gewinnen wir durch die Ableitung nach z

d|σbmax(z)|dz=6F h1 − 2h2+h2 − h1lzb(h1+h2 − h1lz)3


und Auffinden deren Nullstelle.

h1 − 2h2+h2 − h1l·z = 0


also

zmax = 2h2 − h1h2 − h1·l


zmax = 2−h1h211−h1h21·l


bzw. mit

h1h2=3
zmax = 12·l



  • Mit
Wx(z) = 16·bh2(z)


Mb(z) = − F·(l − z)


und

b|=Mb(z)Wx(z) = const.


ergibt sich

h(z) = √(6F(l−z)b|σb|)
 

[edit] [comment] [remove] |2005-12-09| e7 # Biegeverformung

Voraussetzungen

Ein Balken erfährt aufgrund einer Belastung senkrecht zu seiner Achse neben inneren Spannungen auch eine Verformung.

Seite52_1.PNG

Als Voraussetzung behalten wir die getroffenen Vereinbarung - Querschnitte bleiben eben und senkrecht zur Balkenachse (Bernoulli-Balken) - weiterhin bei.19Diese Forderung führt zu einem schubstarren Balken, d.h. einem Balken, der keine Schubverformung erleidet.

Differentialgleichung der Biegelinie

Zur Herleitung des Biegemoments im Abschnitt Biegespannungen haben wir bereits die Biegeverformung berücksichtigt.

Seite52_2.PNG

Wir knüpfen daran an und verwenden zunächst die Gleichung der Biegespannung

σb(y)=Mb(z)Ixx(z)·y

sowie die Aussage hinsichtlich einer linearen Spannungsverteilung gemäß

σb(y)=E_(z)ρo(z)·y

Die Kombination dieser Gleichungen führt auf

Mb(z)=E·Ixx(z)ρo(z)

eine Beziehung zwischen der Biegemomentbelastung eines Balkens und der Krümmung der Balkenachse (neutrale Faser).

Seite53_1.PNG

Die Krümmung 1ρo der Balkenachse ist proportional zum Biegemoment

Mb(z)=E·Ixx(z)·1ρo

Der Faktor E·I wird dabei als Biegesteifigkeit bezeichnet.

Die Verschiebung w(z) eines beliebigen Punktes der Balkenachse habe dabei die gleiche Richtung wie die y-Achse.20Häufig wird die Verschiebung w in negative y-Richtung angesetzt.

Es besteht nun ein mathematischer Zusammenhang zwischen der Krümmung einer beliebigen Kurve (im y,z-System) und der y-Koordinate gemäß

1ρ = y″(1+y′2)23

mit

y′ = dydz und y″ = d2ydz2

Wir setzen diese Krümmungsgleichung unter Verwendung von w statt y in unsere obige Beziehung ein und erhalten die

Differentialgleichung der Balkenbiegung

E·Ixx(z)·w″(1+w′2)23 = Mb

Diese Differentialgleichung ist nichtlinear und in dieser Form für die praktische Arbeit des Ingenieurs kaum brauchbar.
Glücklicherweise treffen wir in der technischen Praxis hauptsächlich sehr kleine Durchbiegungen an, weswegen wir das quadratische Glied w´2 gegenüber 1 vernachlässigen können.21Bei einem Anstieg von 5° liegt der Fehler noch unter 1%. Daher arbeiten wir bei kleinen Verformungen mit der

Differentialgleichung 2. Ordnung der Biegelinie

E·I·w″ = Mb

In dieser - nun linearen inhomogenen gewöhnlichen - Differentialgleichung 2. Ordnung können neben der Durchbiegung w auch das Biegemoment Mb sowie die Biegesteifigkeit E·I von z abhängig sein.

Mit den von den Schnittgrößen bekannten Zusammenhängen

M′ b = dMbdz = Q
M″ _ b =d2Mbdz2 = dQdz = −q

zwischen Streckenlast, Querkraft und Biegemoment erhalten wir schließlich die allgemeine

Differentialgleichung 4. Ordnung der Biegelinie

(E·I·w″) ″ = −q

oder bei konstanter Biegesteifigkeit E· I

E·I·w″ ″ = −q

Lösung der Biegeliniengleichung

Durch die Biegeliniengleichung wird ein Randwertproblem beschrieben. Die Lösung w(z) erhalten wir, indem wir die Differentialgleichung zweimal (2. Ordnung) oder viermal (4. Ordnung) integrieren. Die zwei bzw. vier Integrationskonstanten müssen dann mit Hilfe von Randbedingungen bestimmt werden.
Hinsichtlich der Entscheidung, welche Differentialgleichung (2. oder 4. Ordnung) zur Lösung eines Problems heranzuziehen ist, gilt die

Regel für die Wahl der Biegeliniengleichung

Biegeliniengleichung 2. Ordnung:

kann bei statisch bestimmten Balkenproblemen benutzt werden, wenn der Biegemomentenverlauf vorher bestimmt wurde.


Biegeliniengleichung 4. Ordnung:

kann jederzeit benutzt werden, auch ohne Bestimmung des Biegemomentenverlaufs; muß grundsätzlich bei statisch überbestimmter Balkenlagerung herangezogen werden.

Wenn möglich sollte der einfacheren Differentialgleichung 2. Ordnung der Vorzug gegeben werden.

Die Vorgehensweise werde an folgendem einfachen Beispiel demonstriert.

 

[edit] [comment] [remove] |2005-12-09| e8 # Beispiel

Seite55_1.PNG
Ein Balken konstanter Biegesteifigkeit E·I sei am linken Rand (Koordinatenursprung) eingespannt und am rechten Ende durch eine senkrecht nach unten wirkende Einzelkraft F belastet. Wir ermitteln die Biegelinie
Seite55_1.PNG
Ein Balken konstanter Biegesteifigkeit E·I sei am linken Rand (Koordinatenursprung) eingespannt und am rechten Ende durch eine senkrecht nach unten wirkende Einzelkraft F belastet. Wir ermitteln die Biegelinie

2 Ordnung4 Ordnung
EIw″= −F(l−z)
EIw′= −F(lz−l22)+c1
EIw= −F (12 z2z36)+c1 z+c2
EIw″″ = 0
EIw″′ = c1
EIw″ = c1 z+c2
EIw′ = 12 c1 z2 + c2 z + c3
EIw = 16·c1 z3+ 12 c2 z2+c3 z+c4
Randbedingungen:
ψ(z=0) = w′(z=0) = 0
⇒c1 = 0
w(z=0) = 0
⇒c2 = 0
w=− F2EI·(lz2z33 )
Randbedingungen:
Q(z=l)=EIw″′(z=l) = −F
⇒c1 = −F
Bb(z=l)=EIw′(z=l)= 0
⇒c2 = F·l
ψ(z=0)=w′(z=0) = 0
⇒c3=0
w(z=0)=0
⇒c4 = 0
w = F2EI (z33 −lz2)

An diesem Beispiel wird der notwendige Mehraufwand bei der Gleichung 4. Ordnung deutlich.

Für einen statisch überbestimmt gelagerten Balken wollen wir ebenfalls die Biegelinie ermitteln. Da es hierbei nicht möglich ist, Lagerreaktionen und Schnittgrößen zu bestimmen, müssen wir die Differentialgleichung 4. Ordnung der Biegelinie heranziehen. An diesem Beispiel wird der notwendige Mehraufwand bei der Gleichung 4. Ordnung deutlich.

Für einen statisch überbestimmt gelagerten Balken wollen wir ebenfalls die Biegelinie ermitteln. Da es hierbei nicht möglich ist, Lagerreaktionen und Schnittgrößen zu bestimmen, müssen wir die Differentialgleichung 4. Ordnung der Biegelinie heranziehen.

 

[edit] [comment] [remove] |2005-12-09| e9 # Beispiel

Seite56_1.PNG

−q = EIw″ ″ = −q0
Q = EIw″ ′ = −q0·z+c1
Mb = EIw″ = −12·q0·z2+c1·z+c2
EIw′ = −16·q0·z3+12c21z+c2z+c3
EIw = −124·q0·z4+16·c1·z3+12·c2·z2+c3·z+c4

Die Randbedingungen lauten

Mb(z=l) = 0; w′ (z=0); w (z=0); w (z=l) = 0

Dies führt auf vier Bestimmungsgleichungen für die vier Integrationskonstanten

12·q0·l2+c1·l+c2 = 0
c3 = 0
c4 = 0
EIw = −124·q0·l4+16·c1·l3+12·c2·l2 = 0

und führen auf die Gleichung der Biegelinie

w(z) = − q0·l424E·I[(xl)452(xl)3 + 32(xl)2]

Darüber hinaus haben wir auch den Querkraft- und Momentenverlauf gewonnen

Q(z) = −q0·z+58·q0·l
Mb(z) = −12·q0·z2+58·q0·l·z−18·q0·l2

Zur Festlegung der Randbedingungen bei Biegeproblemen ist folgende Übersicht hilfreich.

Lagerungww′MQ
Seite57_21.gif
0-0-
Seite57_22.gif
-0-0
Seite57_23.gif
00--
Seite57_24.gif
freies Ende
--00

Randbedingungen für die Integration der Biegegleichung.

 

[edit] [comment] [remove] |2005-12-09| e10 # Überlagerung von Lastfällen -Superposition

Wirken auf einen Balken mehrere Lastfälle, d.h. Einzelkraft, Streckenlast oder Moment, so lassen sich die Durchbiegungen aufgrund der einzelnen Lastfälle überlagern und somit summieren.

Seite57_2.gif
Diese Möglichkeit der Überlagerung oder Superposition der Einzelverschiebungen ist allein wegen der Linearität der Differentialgleichung gegeben. Eine Superposition läßt sich nicht nur auf die Verschiebung w , sondern auch auf alle Ableitungen von w anwenden, also:

w = w1+w2 (Verschiebung)
w′ = w′1+w′2 (Neigung)
Mb = Mb1+Mb2 (Momentenverlauf)
Q = Q1+Q2 (Querkraftverlauf)
q = q1+q2 (Streckenlast)

Eine Vereinfachung für die Ermittlung von Durchbiegungen ergibt sich durch die Bereitstellung einer Biegelinientafel mit einfachen Lastfällen.

Beispiel:

Ein Balken ist in A, B gelagert und wird mit den Kräften F1 und F2 belastet Es sind w1 und w2 zu ermitteln.

Seite58_1.PNG
Geg.: F1=2F, F2=F,l mit w1=w11+(-w12) Wir benutzen Lastfall 1 mit Kraft F1 an Stelle 1 mit Hilfe der Biegelinientafel 6.5/ Belastungsfall 4 und erhalten die Gleichung der Biegelinie

w11 = 2F·l33E·I · (116) · (916) = 183·(16)2 · F·l3E·I = 18768 · F·l3E·I

Zusätzlich benötigen wir Lastfall 2 mit Kraft F2 an Stelle 2 mit Hilfe der Biegelinientafel 6.5/ Belastungsfall 4 und erhalten eine weitere Gleichung der Biegelinie

w12 = −F·l33E·I · (34) · (116) · (14) · (1+4−l216310·l2) = −F·l3E·I · (12·(16)2)
w12 = −(73·(16)2) · F·l3E·I = 11768 · F·l3E·I
w = w1 + (−w2) = 11768·F·l3E·I
 

[edit] [comment] [remove] |2005-12-09| e11 # Biegung von Rahmen

Wir betrachten einen Rahmen als ein Gebilde aus winklig zueinander zusammengesetzten Balken. Auf einen solchen Rahmen kann das Prinzip der Superposition ebenfalls angewendet werden.

Seite59_1.PNG


Beispiel:

Ein Rahmen wird durch ein Kräftepaar belastet.

Gesucht ist die horizontale Verschiebung der unter F angreifenden Kraft:

Seite60_1.PNG

Wir ermitteln 3 Lastfälle und erhalten folgende Überlagerungen

Seite60_2.PNG

w= w1+w2+w3

mit

  • w1 = 23·a·φ
  • w2 = 23·a·ψ

Wir benutzen Lastfall 1 mit Hilfe der Biegelinientafel 6.5/ Belastungsfall 1 und erhalten die Durchbiegung mit

M1=23·F·a
φ ≈ tanφ = M1·a3E·I = 2Fa29E·I

weiterhin Lastfall 2 (Biegelinientafel 6.5/ Belastungsfall 2) mit

M2=23·F·a
ψ ≈ tanψ=M2·aE·I = 2Fa23E·I

und schließlich Lastfall 3 (Biegelinientafel 6.5/ Belastungsfall 3) mit

w3=Fa3/3E·I

mit den Überlagerungen der Lastfälle 1-3 erhalten wir als Ergebnis

w= 23·a· 2Fa29E·I+ 23·a·2Fa23E·I+Fa33E·I=25Fa327E·I
 

[edit] [comment] [remove] |2005-12-09| e12 # Überbestimmte Lagerung

Das Superpositionsprinzip erlaubt uns auch, die Auflagerkräfte von überbestimmt gelagerten Balken und Rahmen zu ermitteln. Dabei wird die Lagerkraft in einem Lastfall als unbekannte Kraft angesetzt und in den restlichen Lastfällen einfach ignoriert. Beispiel:

Seite61_1.PNG

w=−w1+w2+w3= 0

mit

  • w1 = φ·l
  • w2 = ψ·l
  • w3

(Biegelinientafel 1, Lastfall 1)

w´(x) = F·l33E·I · (32·1l) + (32·x2l3)
w´(l2) = F·l33E·I · 1l · (32+38)
w´(l2) = 58·F·l23E·I = φ = 532 · F·l2E·I

(Biegetafel 1, Lastfall 2)

ψ = M2·lE·I, mit M2 = Fb·l
ψ = Fb·l2E·I

(Biegetafel 1, Lastfall 3)

w3 = Fb·l33E·I
ψ = 532·Fb·l3E·I + Fb·l3E·I + 13·Fb·l3E·I = 0
43·Fb = 532·F ⇒ Fb = 15128·F
 

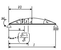
[edit] [comment] [remove] |2006-04-04| e13 # Biegetafel

0 BelastungsfallGleichung der BiegelinieDurchbiegungNeigung
1
bt1.png
Fseite81_1.gif
f = F·l33EI tan α = F·l22E·I
2
bt2.png
Fseite81_2.gif
f = Mb·l22E·I tan α = Mb·l2E·I
3
bt3.png
Fseite81_3.gif
f = F·l348E·I tan α = F·l216E·I
4
bt4.png
Fseite81_4.gif
Fseite81_42.gif
Fseite81_43.gif
Fseite81_44.gif
f = F·l33E·I·(al)2·(bl)2 fmax = f·l+b3b·√(l+b3a) tan α1 = f·12a·(1+lb) tan α2 = f·12b·(1+la)
5
bt5.png
Fseite81_5.gif
f = ql48EItan α = ql36EI
6
bt6.png
Fseite81_6.gif
fm = 5ql4384EI tan α = ql324EI
7
bt7.png
Fseite81_7.gif
fm = Mb l216EI fmax = Mb·l29(√3)EI tan α1 = Mb·l3E·I tan α2 = 12 tan α1