Im Gegensatz zum Balken hat der Rahmen einen abgewinkelten Querschnittverlauf. Darüberhinaus können Verzweigungsstellen auftreten.
Damit auch bei abgewinkeltem Verlauf Verzweigungen eine eindeutige Schnittgrößenvereinbarung getroffen werden kann, wollen wir eine gestrichelte Bezugsfaser einführen, die jeweils die "Unterseite" eines Balkenelements kennzeichnet
Wir untersuchen nun die Schnittgrößen in einer Knickstelle und schneiden den Rahmen unmittelbar links und rechts davon frei.
Die Transformationsmatrix der ebenen Rotation hilft uns, die Gleichgewichtsbedingungen für das Rahmenelement aufzustellen.
∑ F ≡ −N1Q1 + cosα −sinαsinα cosα N2−Q2 = 0
∑ F ≡ cosα sinα−sinα cosα −
N1Q1 + N2−Q2 = 0
∑ M ≡ M2 − M1 = 0
Die Momente werden durch die Abwinkelung des Rahmens nicht beeinflußt. Die Normal- und Querkraft müssen über die entsprechenden Winkelfunktionen aufgeteilt werden, also gilt für die
Änderung der Schnittgrößen am abgewinkelten Rahmenelement
N2 = N1·cosα − Q1·sinα
Q2 = N1·sinα − Q1·cosα
M2 = M1
Für den praktisch bedeutsamen Fall eines 90°-Winkels erhalten wir
N2 = −Q1
Q2 = N1
M2 = M1
Vorgehensweise bei abgewinkeltem und verzweigtem Rahmen:
- Festlegung einer Bezugsfaser (gestrichelte Linie) zur eindeutigen Orientierung der Schnittgrößen.
- Zerlegung des Rahmens in gekennzeichnete Teile mit gerader Längsachse (Balken).
- Bestimmung der Gelenkreaktionen mittels bekannter Methoden der Statik.
- Abschnittsweise Bestimmung der Schnittgrößen und Berücksichtigung der Winkelfunktionen an Knicken im Rahmenverlauf.
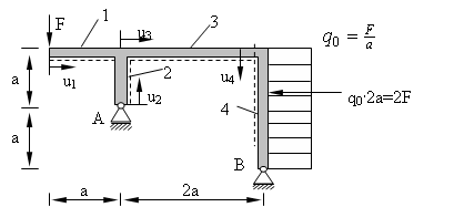
Beispiel
Ein abgewinkelter Rahmen mit Verzweigung wird durch die Kraft F belastet. Gesucht sind die Schnittgrößenverläufe.
Gleichgewichtsbedingungen:
∑ F ≡ 0Ay + BxBy + 0−F + −2F0 = 0
∑ MB ≡ 3Fa + 2Fa − Ay·2a = 0
Auflagerkräfte:
⇒ Ay = 52·F; Bx = 2·F; By = −32·F
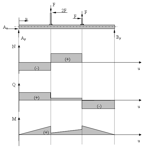
| - |  |  |  |  |
| Q | −Q − F = 0
Q = F | −Q = 0
Q = 0 | −Q − F + Ay = 0
Q = 32·F | −Q − q0·u4 = 0
Q = −Fa·u4 |
| N | N = 0
N = 0 | N + Ay = 0
N = −52·F | N = 0
N = 0 | N = Q3
N = 32·F |
| M | M + F·u1 = 0
M = −F·u1 | M = 0
M = 0 | M + F(a + u3) − N1·u3 = 0
M = −F·A − 32·F·u3 | M + M3 + q0·u4·u42 = 0
M = −F·a − 32·F·u3 + Fa·u42 |